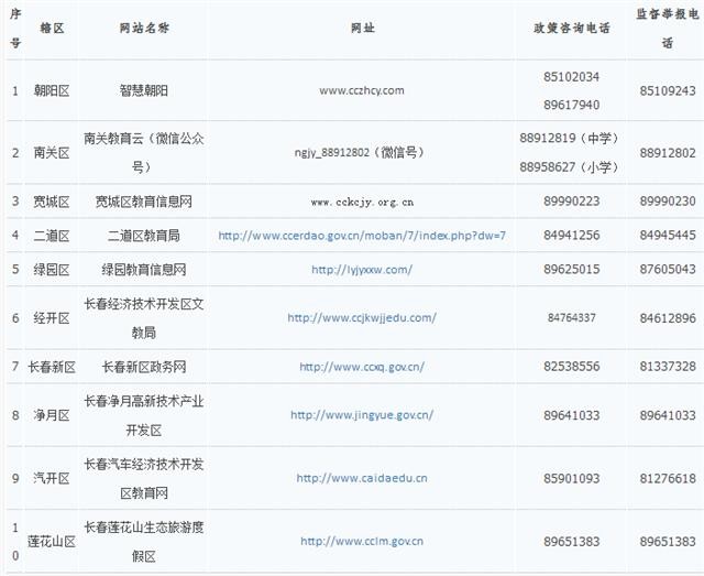
2018年长春市各城区、开发区学校学区查询网站及招生入学咨询电话
2018年长春市各城区、开发区学校学区查询网站及招生入学咨询电话
4月26日下午,长春市教育局召开长春市2018年义务教育招生中考招生工作部署暨新闻发布会。会后,长春市教育局公布了2018年各城区、开发区学校学区查询网站及招生入学咨询电话。4月27日9时,家长们可以通过下列网站查询到所在的学区。

吉网 吉刻APP记者 刘晓宇

相关标签:
-
- 初中勾股定理16种证明方法,超级有用,一定要存好
-
2025-12-21 18:53:19
-
- 陈乔恩与姚明合影,自称“拇指姑娘”
-
2025-12-21 18:51:05
-
- 明月法师:教你两天 改变一生(二)
-
2025-12-21 18:48:51
-
- 科学家将14.6万年前新人种命名为龙人
-
2025-12-21 18:46:36
-
- 湖南张家界:亲水乐游宝峰湖
-
2025-12-21 18:44:22
-
- 欠条的标准格式范本 个人借款欠条怎么写
-
2025-12-21 09:22:58
-
- 拉蒂夫·拉希德当选伊拉克新总统
-
2025-12-21 09:20:44
-
- 雨果奖在成都揭晓 中国科幻创作者获四大奖项
-
2025-12-21 09:18:29
-
- 小编奉上:可爱花花姑娘安卓手机壁纸
-
2025-12-21 09:16:15
-
- 东北最大樱桃批发基地日交易量突破40万斤
-
2025-12-21 09:14:00
-
- S14全球总决赛的冠军难道说?!
-
2025-12-21 09:11:46
-
- 天津航天信息有限公司简介
-
2025-12-21 09:09:32
-
- 海绵宝宝这样画超简单
-
2025-12-21 09:07:17
-
- 5种简单可爱猪线稿,初学者收藏
-
2025-12-21 09:05:03
-
- 组图|滕州:雨中送单忙
-
2025-12-21 09:02:49
-
- 时代牺牲品:末代王子阿列克谢的血泪史与俄国风云变幻
-
2025-12-19 18:37:50
-
- 三大名胜,趵突泉和大明湖还有千佛山,济南旅游必去的三个景点
-
2025-12-19 18:35:36
-
- 京东外卖开启“撒钱地推”模式:一个月提BBA?
-
2025-12-19 18:33:22
-
- 八一建军节朋友圈祝福语带图片
-
2025-12-19 18:31:07
-
- 知识窗:全国哀悼日·下半旗志哀
-
2025-12-19 18:28:53



中国十大生日礼物(中国特色生日礼物)
中国现代十大著名法师(当代中国最有名的法师)